Ford最近公開了一項名為「雙視角顯示」的專利,將一個螢幕分給駕駛以及乘客使用,同時兩者將會看到完全不同的資訊。
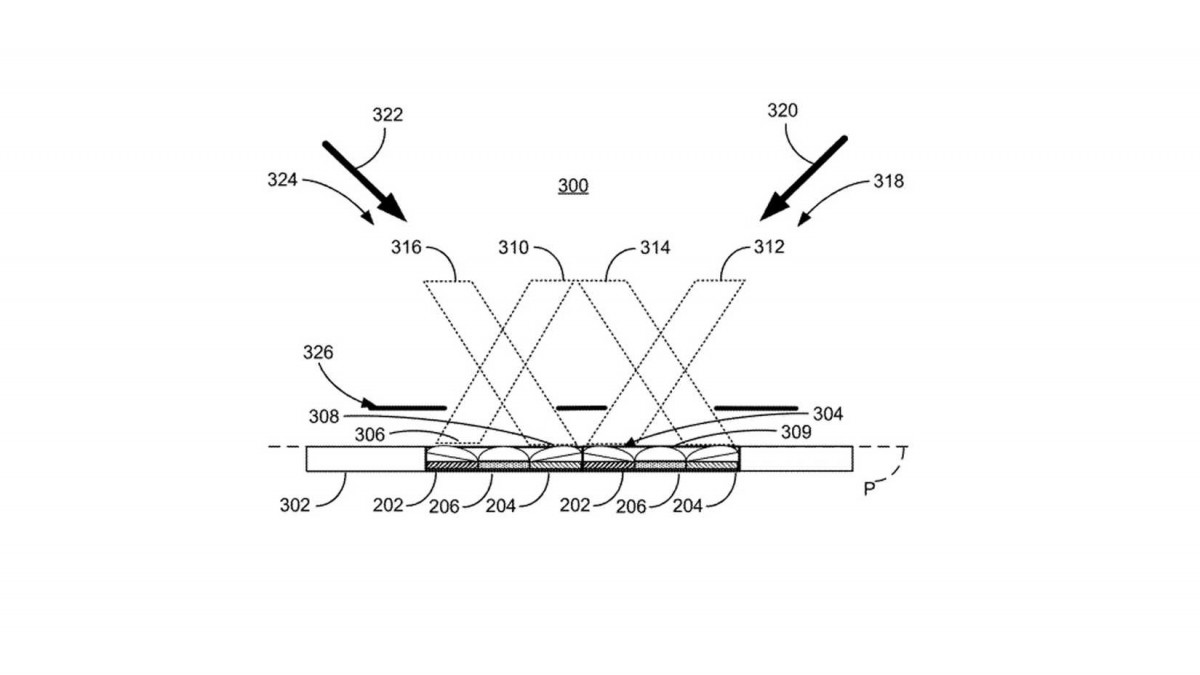
這項創新技術的實現,仰賴於複雜的螢幕底層結構。該專利描述了如何在一塊LED顯示面板中,為兩個不同的視角設置各自獨立的LED顯示區域。每個LED區域都配備了一系列微透鏡(micro-lenses),這些微透鏡組合形成兩個獨立的透鏡陣列。一個陣列將圖像聚焦於乘客角度,另一個則聚焦於駕駛角度。由於每個LED都能被單獨控制,因此兩個視角能夠同時接收到不同的圖像訊號,或者在停車時,顯示相同的內容供兩人一同觀看。
要讓兩個不同的圖像在同一塊面板上實現精準分流,關鍵在於設置在螢幕前方的視差屏障(Parallax Barrier)。這項技術並非全新發明,它早在約20年前就被用於3D電視,原理是通過濾鏡讓雙眼分別接收到略有不同的像素,從而產生3D立體效果。不過在這次的專利當中,視差屏障的作用是確保不同角度的觀看者,只能看到為他們角度設計的特定像素,從而防止駕駛員分心去看乘客娛樂內容。
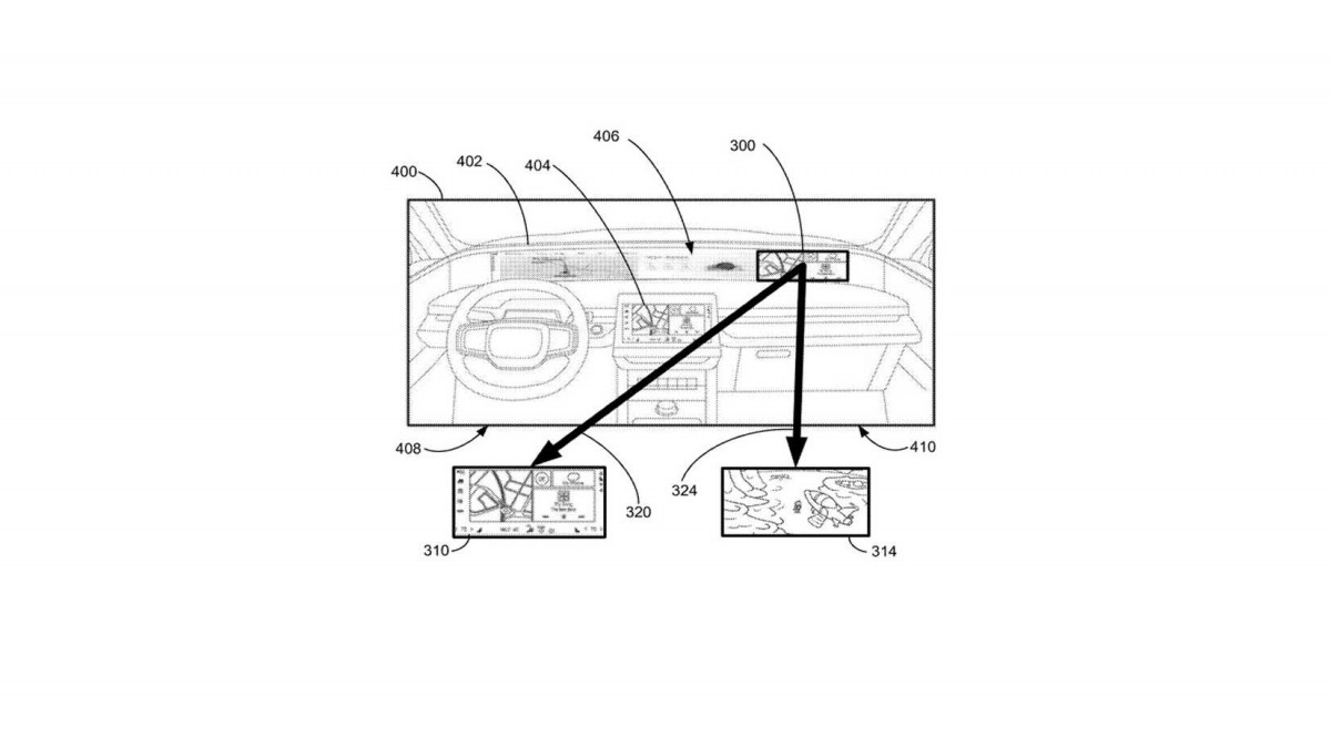
儘管這項技術能有效利用螢幕空間,並提升乘客體驗,但它仍面臨實際應用上的挑戰。例如,如何確保這套雙視角系統,能在駕駛座椅位置從前到後大幅變動的情況下,依然完美地運作,這將是Ford需要克服的工程問題。雖然過去豪華品牌如Land Rover也曾在中控螢幕上實現過雙視角顯示,但福特的專利重點在於將這項技術應用於尺寸更大、更靠近擋風玻璃的現代數位儀表板和中控螢幕上,這項專利能否真的實現,還得看福特開發的最終結果。
現今車輛螢幕越來越多也越來越大,如果一個螢幕可以當兩個用,將能更有效地運用車內空間。
要讓兩個不同的圖像在同一塊面板上實現精準分流,關鍵在於設置在螢幕前方的視差屏障。
在一塊LED顯示面板中,為兩個不同的視角設置各自獨立的LED顯示區域。
